



L78M05CDT-TR
Non-returnable
₹15.50
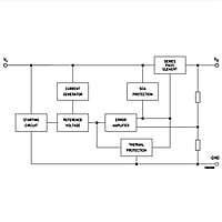
Linear Voltage Regulator, 7805, Fixed, 10V To 35V In, 5V And 0.5A Out, TO-252-3, ST Microelectronics
Product Details
| Manufacturer Part Number: | L78M05CDT-TR |
| Manufacturer: | STMicroelectronics |
| Case/Package: | TO-252 (DPAK) |
| Output Type: | Fixed |
| Number of Outputs: | 1 |
| Nominal Output Voltage: | 5 V |
| Min Input Voltage: | 10 V |
| Max Input Voltage: | 35 V |
| Max Output Current: | 500 mA |
| Number of Pins: | 3 |
| Mount: | Surface Mount |
| Max Operating Temperature: | 150°C |
